Краткие атрибуты
- Наличие: В наличии
- 2 или больше 432.00грн.
- 4 или больше 408.00грн.
Терморегулятор электронный механический Castle RTC 70.26 предназначен для автоматического регулирования температуры (поддержания заданной пользователем температуры) пола в помещениях, оборудованных кабельными системами отопления «теплый пол». Рекомендован для установки с любыми системами электрического обогрева (резистивные кабели, маты, ИК пленка) мощностью не более 3000 Вт.
Регулятор теплого пола имеет диапазон от 5 до 40 градусов по цельсию. На передней части термостата Castle RTC 70.26 располагается индикатор работы устройства. В комплект входит датчик температуры пола, длиной 3м. Прибор производится в классическом дизайне (квадратный корпус с небольшими закруглениями по краям устройства). Контактная группа устройства выполнена из качественного металла.

На передней части удобно расположены, ручки управления и механический выключатель. При отсутствии датчика терморегулятор работать не будет. Терморегулятор Castle 70.26, монтируется в стандартную монтажную коробку.
Классический дизайн, универсализм, доступная цена, простота настройки и двухлетняя полноценная гарантия терморегулятора Castle RTC 70.26, сделали его очень популярный на территории Украины.

Установка (монтаж) терморегулятора Castle RTC 70.26
Терморегулятор 70.26 устанавливается в стандартную монтажную коробку диаметром 68 мм. Определите место установки устройства таким образом что-бы избежать попадания прямых солнечных лучей на термостат, на высоте минимум 30 см. максимум 120 см. от пола.

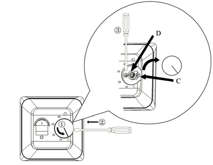
1 С помощью отвертки разберите устройство на части



2 С помощью двух винтов закрепите пластину в монтажной коробке (D=68 мм)

3 Подключите провода и датчик температуры пола

Монтаж датчика температуры пола
Монтаж датчика температуры выполняется одновременно с установкой греющей секции.
Установите датчик в гофротрубку и заглушите ее торец для предотвращения попадания раствора или клея внутрь. Установите датчик в гофрорубке по центру параллельно между двумя витками греющего кабеля, сделайте шторобу 20x20 мм. от места установки к монтажной коробке и подведите гофробрубку с датчиком к ней. Необходимо сделать плавный изгиб (не менее 5 см.) при переходе от пола к стене.

Комплектация
- Терморегулятор Castle
- Датчик температуры пола (на проводе)
- Паспорт
- Инструкция пользователя
Техническая информация устройства
- Тип термостата - механический
- Управление - механическое колесико
- Монтаж - внутренний
- Максимальный ток - 16A
- Диапазон регулирования температуры - 5 - 40 ° C
- Размер - 86x86 мм.
| Характеристики | |
| Вид монтажа | В подрозетник |
| Габаритный размер | 86*86 |
| Гарантия | 2 года |
| Комплектация | Терморегулятор. Датчик температуры пола. Паспорт и инструкция по установке |
| Максимальный ток | 16А |
| Назначение | Для электрического теплого пола |
| Тип | Терморегулятор механический |
| Дополнительные характеристики | не программируемый |






